CARBIDE TIPPED COUNTERBORE END MILL
Model :
AQT
CARBIDE TIPPED COUNTERBORE END MILL
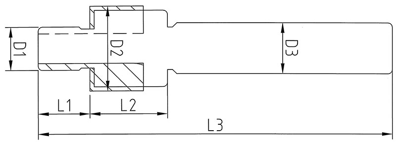
Counterbore End Mill is welded with carbide flutes, which the counterbore head should be drilled firstly and then select the suitable Counterbore End Mill by the counterbore head to mill the counterbore.
