Automatic Drilling Machine
FEATURES
When the automatic or semi-automatic drilling is equipped with coolant tank (Refer to P.25 KS-3M coolant tank), one operator can operate several drilling machines. It provides effortless operation while greatly increasing efficiency.
unit : mm
|
|
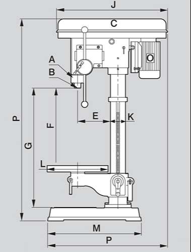
MODEL |
KSA-16B |
KSA-25B |
|
A |
Diameter of quill |
Ø65 |
Ø95 |
|
B |
Spindle taper |
MT 2# |
MT 3# (MT 4#) |
|
C |
Spindle step |
4 |
6 |
|
D |
Spindle travel |
100 |
140 |
|
E |
Spindle to column |
175 |
230 |
|
F |
Spindle to table |
420 |
630 |
|
G |
Spindle to base |
620 |
930 |
|
H |
Drilling capacity |
Ø4-Ø16 |
Ø8-Ø25 |
|
J |
Cover sizes |
608x214x125 |
725x262x157 |
|
K |
Column diameter |
Ø80 |
Ø102 |
|
L |
Table diameter |
Ø320 |
Ø420 |
|
M |
Base sizes |
500x300 |
615x385 |
|
N |
Speed 50Hz |
450-1700 |
180-1400 |
|
|
Speed 60Hz |
550-2000 |
220-1650 |
|
O |
Motor |
1/2; 1 ; 2 (HP) |
2 (HP) |
|
P |
Machine sizes |
650x410x1090 |
810x450x1545 |
|
Q |
Machine weight |
105kg |
210kg |
Hexangular collets and chucks and other accessories are not included for the above machine products / King Sang Machines.

